五糧液,兄弟,排名第五。
從“一粒液”到“千粒液”
是他的親哥哥。
他們每一個人都是“人”
他們都有身份證(商標證書)
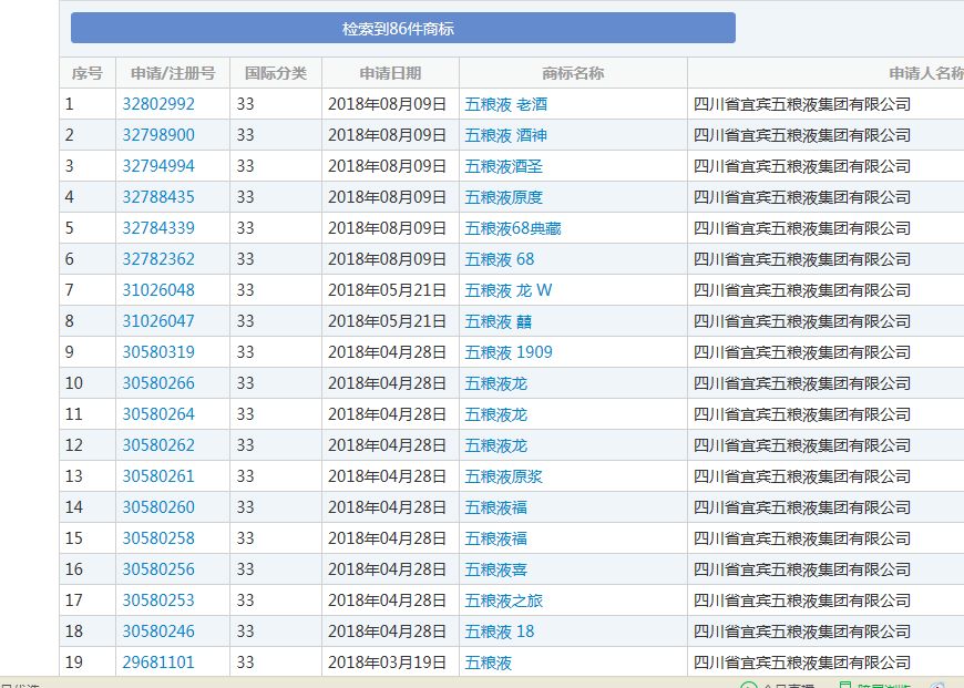
品牌發展的最高境界是什么?它不受地域或國界的限制,代表著文化和歷史的傳承。五糧液無疑是這類品牌的代表。作為行業的領導者,在知識產權保護意識上也引領著整個行業。注冊商標和專利的數量在外人看來肯定有點不可思議。
前兩天,邊肖在中國商標局官網查詢。結果她驚喜地發現“六糧液”,而且已經進入初審公告期。在查詢33種白酒商標時,檢索到以下7條信息,均注冊為“六糧液”商標。只有兩條信息顯示“六糧液”商標的申請人為五糧液集團,其余均為他人申請。
五糧液集團會反對別人注冊“六糧液”嗎?
一個已經進入初審公告期,一個已經作廢。2007年申請的“六糧液”商標,2011年注冊成功,現在已經顯示無效。
看來五糧液還是不能容忍別人注冊“六糧液”。估計只要“一粒液”到“千粒液”的商標被他人搶注,五糧液集團就會提出異議申請。我們要明白,“五糧液”不僅是地理標志,還是馳名商標,所以五糧液反對或認定對方無效是合理的。
五糧液:“一粒液”到“一千粒液”都是我的。
“六糧液”被反對,是因為從“一糧液”到“千糧液”的所有東西都被五糧液集團申請了商標注冊。當然,其他企業也申請過其他商標,但最終結果和這個“六糧液”商標一樣,五糧液集團的袋子里沒有問題。
所以,那些和“糧液”有關的商標就應該放棄。畢竟如果有幸注冊成功,也有可能被作廢。我們來想一些有自己品牌特色的商標名。
企業做大做強后,必然會被抄襲,五糧液集團是唯一一家有這樣商標保護策略的企業。大白兔為了保護自己的商標,注冊了大灰兔、大黑兔、小白兔、金兔、銀兔等類似商標,老干媽注冊了老干地、老干大、養子、養女、老月經。除了眾所周知的“五糧液”,五糧液集團還注冊了六糧液、七糧液、八糧液,簡稱各省。
這些“山寨”商標和原來的商標相比,聽起來很別扭,也很難管理。知名企業的做法雖然匪夷所思,但他們不“山寨”自己的商標,其他企業會鉆空子注冊類似的商標。